Russia: Chamber of Patent Disputes cancels design on second attempt

Managing IP is part of Legal Benchmarking Limited, 1-2 Paris Gardens, London, SE1 8ND

Copyright © Legal Benchmarking Limited and its affiliated companies 2026

Accessibility | Terms of Use | Privacy Policy | Modern Slavery Statement

Russia: Chamber of Patent Disputes cancels design on second attempt

india-design-infringement-min-final.jpg

In the latest international briefing for Russia, Gorodissky & Partners assesses a recent decision from the Chamber of Patent Disputes

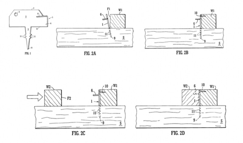
A seemingly simple device was patented as a design, but it took the claimant two attempts to cancel it. A patent No 95186 was obtained for a fitting appliance.

russia1a.jpg

The first appeal was based on the design's non-compliance with the novelty provision. In the opinion of the appellant, the patented design was known from a connection fixture covered by British patent №2360337, published in 2001.

The figures show stages of assembly of the boards using the cited connector according to the British patent, which clearly shows a method of use for such a fixture for making a connection between boards.

russia2a.jpg

The defence, in response to the point that the design did not comply with the novelty requirement, asserted that the design covered by the appealed patent is different from the known connector of boards described in the GB patent No 2360337 due to the essential features as follows:

  • The appealed design contains direct intercrossing of the upper part with the lateral part.

  • The appealed design has a conical through opening.

  • The appealed design contains an indent from the chamber at the upper part to the pin-like element.

As a result, one may conclude that the GB patent No 2360337 does not contain the whole combination of essential features of the appealed patent, and therefore it is not possible to claim that the appealed patent is not novel. The above argument saved the patent and kept it in force. The ink was barely dry on the decision of the Chamber of Patent Disputes when another appeal was filed to the Chamber. This time, the appellant claimed lack of originality of the patented design. The second appeal cited another source, one that had been accepted by the examiner before - namely website printouts showing the appearance of deck connector "Гвозdeck classic". The coined word is a combination of Cyrillic and Latin words meaning “small nail” (https://web.archive.org/web/20150629035555/https://www.gwozdeck.ru/katalog/gwozdeck/classic/). According to the internet service “Web.archive.org", the pictures were publicly available before the priority date of the appealed patent.

russia3a.jpg

The collegium of the Chamber of Patent Disputes issued a second decision in which it stated that the combination of essential features of the appealed design patent is indeed present in the above pictures and produces on the informed consumer the same general impression as the combination of features of the outer appearance of the known article shown on the website printouts. Hence the design in the patent under appeal does not conform to one of the patentability criteria, i.e. originality.

The bottom line of the case: never give up.

vladimir

Vladimir Biriulin

Gorodissky & Partners

Russia 129010, Moscow

B. Spasskaya Str

25, stroenie 3

Tel: +7 495 937 6116 / 6109

Fax: +7 495 937 6104 / 6123

pat@gorodissky.ru 

www.gorodissky.com 

more from across site and SHARED ros bottom lb

More from across our site

US patent lawyers say they are increasingly advising clients on China strategies as corporations seek to gain leverage in enforcement, licensing, and supply chain management
Mike Rueckheim reunites with 12 of his former Winston & Strawn colleagues as King & Spalding continues aggressive hiring streak
As global commerce continues to expand through e-commerce platforms and digital marketplaces, protecting brands has become a growing challenge for organisations worldwide. Counterfeiting, intellectual property infringement, and online brand abuse are increasing across industries, making brand protection strategies a critical priority for businesses.
Henrik Holzapfel and Chuck Larsen of McDermott Will & Schulte explain why a Court of Appeal ruling could promote access to justice and present a growth opportunity for litigation finance
A co-partner in charge says the UK prosecution teams are a ‘vital’ part of the firm’s offering, while praising a key injunction win
A team from White & Case has checked in on behalf of Premier Inn Hotels in a UK trademark and passing off case against a cookie brand
Litigation team says pre-trial work and a Section 101 defence helped significantly limit damages payable by ride-sharing firm Lyft in patent case
News of Avanci hiring a senior vice president and the EPO teaming up with a French AI startup were also among the top talking points
Explosm, the independent Texas studio behind the hit webcomic Cyanide & Happiness, partnered with Temu’s IP protection team to combat counterfeiters infringing on its brand
The latest in a dispute over juicing machines, and a shakeup in judicial compositions were also among the top developments
Gift this article